Końcówka oczkowa 100szt. KOA_6-6/100 ERKO
Końcówki oczkowe miedziane Cu
49.25
PLN
Końcówka oczkowa 100szt. KOA_6-6/100 ERKO
Końcówka oczkowa 100szt. KOA_6-6/100 ERKO
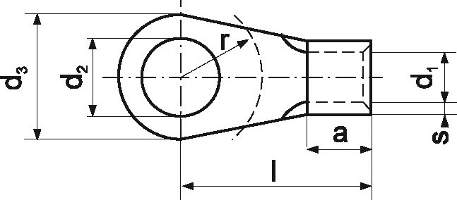
Końcówka oczkowa 100szt. KOA_6-6/100 ERKO - Standardowe końcówki oczkowe służą do bezpiecznego i trwałego zakańczania kabli miedzianych wielodrutowych i podłączania przewodów do elementów instalacji elektrycznych. Końcówki z serii KOA producenta ERKO wykonane zostały z wysokiej jakości miedzi cynowanej galwanicznie oraz dostępne są w szerokim zakresie rozmiarów. Aby poprawnie zaprasować końcówkę na przewodzie, należy użyć odpowiednio dobranej praski (dokładny opis narzędzi potrzebnych do zaprasowania różnych rozmiarów końcówek znajduje się w karcie katalogowej produktu). Parametry techniczne:
Firma ERKO jest znana z produkcji sprzętu elektroinstalacyjnego wysokiej jakości, który służą instalatorom w całej Europie. Wysoka jakość oraz funkcjonalność tych produktów powoduje, że z roku na rok ufa im coraz więcej klientów. Sprawdź inne produkty firmy ERKO na kwant.net.pl. Pliki do pobrania:Dane techniczne
|

